品牌、标签、烙印……在谈及某些游戏公司的时候,或许是因思维固化,我们往往基于此滔滔不绝。即所谓的第一印象。
恰如论起米哈游,我们会第一时间想到《原神》、二次元;说到腾讯,大家脑子里第一个冒出来的,多是《王者荣耀》《和平精英》、竞技游戏。可事实上,而今如二者一样的诸多厂商,都在尝试新品类。
当然,物速成则疾亡,晚就则善终。而将三国吃透的灵犀互娱,更是深谙其理。对于灵犀互娱的第一印象,“三国”自然是身先士卒。从《三国志·战略版》《三国志幻想大陆》到《三国志·战棋版》《代号:鸢》,三国IP俨然成为了公司游戏枢纽核心。
不过,近期竞核观察到,灵犀互娱旗下多款新品浮出水面并开启相应阶段测试。有所不同的是,这些新游既不是公司熟悉的三国题材,也非其多次领略的SLG品类。如二次元CCG卡牌游戏《忘却前夜》、MMORPG《森之国度》和《仙剑奇侠传:缘起》等。
另外,通过查询公司官方招聘信息我们发现,近期灵犀互娱正在招聘沙盒类游戏岗位,并要求熟悉UGC生态。此外,天眼查显示,广州简悦申请软著中包括编辑器类软件。
考虑到自《蛋仔派对》爆火后,国内诸多厂商在包含UGC生态的派对游戏领域跃跃欲试,我们不排除灵犀互娱入局的可能。
01 向二次元、MMO发起进攻
聚焦灵犀互娱近期测试的几款新作,其主要围绕两个方向:二次元;MMORPG。
对于前者,处在版号申请阶段的《代号:鸢》,此前就凭借创新卡牌玩法+出色的剧情和Live2D,在国内未上先火。
除此之外,不久前竞核在《继深蓝互动之后,灵犀试图在二游突围这个新方向》一文中,也对公司克苏鲁题材+CCG卡牌的二次元新作《忘却前夜》进行了拆解。我们认为,游戏已初步将玩法、题材的潜力展示了出来,给玩家带来了不小的惊喜。
说实话,在内部评级中,我们对上述两款新作抱有很高期待。例如《代号:鸢》是在传统回合制基础上做加法,提升游戏策略与趣味性;《忘却前夜》则是在杀戮尖塔like玩法的减法基础上做微创新。
不过,也并非每一款新游都能给人眼前一亮的感觉。日前,灵犀互娱异世界冒险游戏《森之国度》开启限量 测试。项目工作室表示,做这款游戏初心是为了找到以前玩网游的感觉。

整个游戏的核心玩法循环也比较常见:角色+宠物养成(强数值养成+弱构筑)——副本、挑战等玩法内容——角色+宠物养成。另外,游戏中的组队、家园、骑士团等系统设置,则强化了游戏社交性能。
坦白说,在测试了近一周时候,笔者认为该作就是一款传统MMORPG产品。
但有游戏评测师表示,《森之国度》虽然在玩法上属于比较常见的类型,但胜在画风治愈,贴合年轻人以及海外亚洲区玩家喜好。例如三七互娱此前推出的《龙之国物语》《云上城之之歌》,在港台、韩国等地区均取得了不错表现。
在他看来,这款游戏或许针对的不是国内市场。不过,从《森之国度》近期在国内的测试表现来看,口碑也可称良好,好游快爆评分8.8。
综合上述三款灵犀互娱新游评测,我们认为现阶段灵犀互娱在新游研发上,一方面是寻求题材、玩法等新的创新点,另一方面对游戏性钻研也比较专注。总的来说,即在成熟玩法框架基础上,进行风格化创新。
02 也有可能做派对游戏
能知其所短而不用,此贤者之大也,知所短则知所长。
如文前所言,灵犀互娱六年时间的积累,其长处莫过于“塑造三国IP”、“深究SLG”。与此同时,这也能说是灵犀互娱短处所在。
而通过《忘却前夜》《森之国度》,我们能感受到,灵犀互娱正试图寻找差异化的发展路径,以此补强短板。当然,这还只是浮在水面之上的,水面之下远不止如此。
2022年9月,一款名为《代号:G1》的游戏在九游平台发不了测试公告。该作为一款多英雄第三人称射击游戏,融合了角色扮演和组队闯关等游戏机制。虽然游戏初期在UI设计、美术画面以及渲染方面相对简陋,但射击+肉鸽的创新玩法还是得到了不少玩家关注。

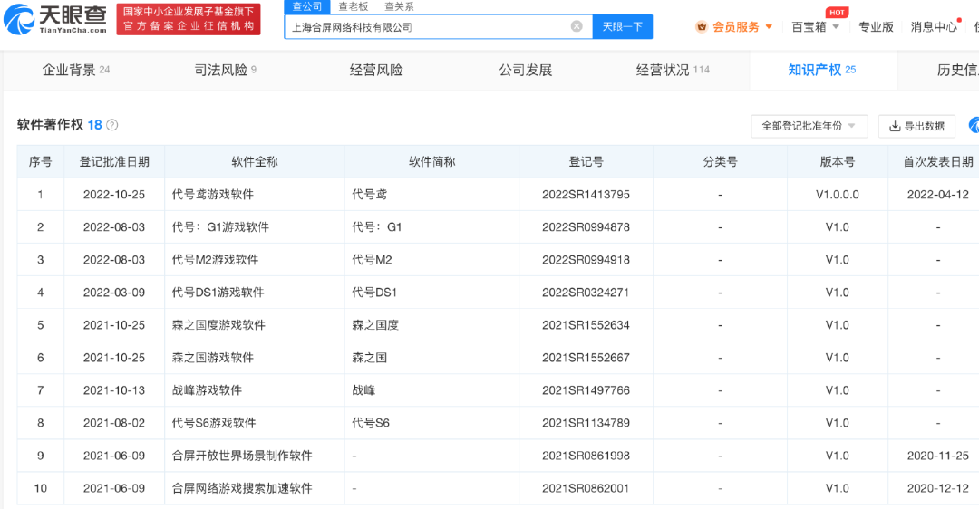
从九游平台信息来看,该作开发商为上海合屏网络科技有限公司研发,似乎与灵犀互娱并无关系。但根据天眼查显示,上海合屏网络由一点灵犀信息技术(广州)有限公司全资控股,为灵犀互娱旗下全资子公司。
与此同时,上海合屏网络法人、执行董事兼总经理为陈伟安,曾是简悦创始人之一。2017年,简悦被阿里大文娱收购,陈伟安加入阿里。
不过,这并非灵犀互娱在射击/竞技赛道的第一次尝试。2020年育碧表示简悦开发的射击游戏《Area F2》抄袭《彩虹六号:围攻》。后续,虽然后者称产品是由旗下团队历史2年时间重金打造,但《Area F2》最终还是宣布停止运营和停服。
据了解,该作是由阿里崇德工作室(Vagary Studio)研发,此外该工作室还曾推出过意大利面式画风的MOBA手游——《Vagary》。后续,Vagary Studio部分成员编入了星辰工作室。
而从上海合屏网络申请的软著来看,除开《代号:G1》还包括《代号:鸢》《森之国度》等已知灵犀互娱旗下自研游戏,以及《代号DS1》《战峰》等多款在研产品。

值得提出的是,在灵犀互娱官方中信息我们还发现,水面之下灵犀互娱还在布局沙盒、球类卡牌、ACT等多个赛道。
例如在近期,灵犀互娱发布了多个沙盒类游戏岗位,包括主策划、游戏程序开发专家、沙盒生存游戏主程等。结合具体的招聘要求(对沙盒核心玩法有深入了解;关注不同游戏玩家UGC生态),以及公司在自研编辑器类软件,或许相关项目已经在筹备中。
至于灵犀互娱是做沙盒游戏,还是派对游戏,暂时还未可知,竞核将持续关注。

总的来说,当下这家在游戏圈摸爬滚打六年(2017年阿里收购简悦起计算)的“年轻公司”,正逐渐透露出外圆内方的君子之性。
03 下一个爆款是?
“夫英雄者,胸怀大志,腹有良谋,有包藏宇宙之机,吞吐天地之志者也。”或许《三国演义》中曹操的这句话,如今亦可视为灵犀互娱的写照。
坦白说,在笔者看来,阿里游戏的崛起是从收购简悦开始。
2014年阿里进入游戏行业,早期主要做渠道业务,由收购来的UC九游负责,但成绩一般。2017年收购广州简悦后,阿里才正式布局自研业务,并迎来两位关键人物。
其中一位,即前文提到的上海合屏网络执行董事兼总经理为陈伟安。在创办简悦之前,他曾在担任网易副总裁、网易暴雪合资公司总经理,负责《魔兽世界》《星际争霸2》产品运营。
而另一位关键人物,则是同样出自网易、简悦创始人的詹钟晖。他曾担任过《大话西游2》《梦幻西游》《天下2》等网易爆款游戏的执行制作人,2011年詹钟晖离任时为网易COO。现任灵犀互娱总裁。
此外,据圈内人士表示,除了詹钟晖、陈伟安等,阿里游戏的大部分核心管理层也来自网易。
在阿里收购简悦的随后一年,公司成功拿下热游《旅行青蛙》国内独家代理权,并推出第一款自研手游《风之大陆》,在国内游戏市场打出水花。其中《风之大陆》正是由原网易MMO手游《人间》制作人颜科西带队研发。
不过,要说帮助阿里游戏敲开自研重度游戏大门,并收获一大桶金的还属《三国志·战略版》。
2019年9月《三国志·战略版》正式全球公测,一举进入头部游戏梯队,阿里游戏也首次进入全球手游发行商收入榜Top10。也是在这一年,阿里游戏推出全新游戏品牌——灵犀互娱。

值得提出的是,该作开发团队负责人周炳枢同样出身于网易。一年后,由原游族《少年西游记》制作人王忆飞带队开发的《三国志·幻想大陆》同样取得了亮眼成绩。据悉,当时三战与三幻两款游戏年流水在百亿级别。
自此,灵犀互娱凭借两款三国在国内游戏市场站稳脚跟。直到2020年9月,灵犀互娱正式升级为独立事业群,公司自研队伍仍在不断扩大。
回到2023年,灵犀互娱已陆续上线自研新作《三国志·战棋版》(原网易梦幻事业部MOBA项目《英雄三国》数值策划陆焕浩位负责人)、《代号:鸢》(海外市场)等。此外,《忘却前夜》《森之国度》和《仙剑奇侠传:缘起》等在研产品也有步入测试阶段。
可以想象的是,在未来一段时间里,我们或许能看到灵犀互娱除“三国”、“SLG”之外的创新风采。与此同时,我们也期待灵犀互娱能在其它赛道给玩家带来新的体验。
本文源自「私域神器」,发布者:azyun.com,转载请注明出处:https://www.azyun.com/41678.html

微信扫一扫
支付宝扫一扫 
